Δευτέρα, 2026-04-06, 08:15
Ματιές στον κόσμο
Main
Registration
Login
RSS
Μενού
Ιστολόγιο
Άρθρα - Αναλύσεις
Forum
Παιχνίδια
Φωτογραφίες
Αρχεία
Περί τον ιστότοπό μου
Επικοινωνία
Ημερολόγιο
«
Μάιος 2010
»
Κυ
Δε
Τρ
Τε
Πε
Πα
Σα
1
2
3
4
5
6
7
8
9
10
11
12
13
14
15
16
17
18
19
20
21
22
23
24
25
26
27
28
29
30
31
Ψηφοφορίες
Rate my site
Excellent
Good
Not bad
Bad
Awful
Results
|
Polls archive
Total of answers:
24
Στατιστικά
Συνολικοί χρήστες:
1
Επισκέπτες:
1
Χρήστες:
0
Αρχείο
2009 Δεκέμβριος
2010 Ιανουάριος
2010 Φεβρουάριος
2010 Μάρτιος
2010 Απρίλιος
2010 Μάιος
2010 Ιούνιος
2010 Ιούλιος
2010 Νοέμβριος
2010 Δεκέμβριος
2011 Ιανουάριος
2011 Φεβρουάριος
2011 Μάρτιος
2011 Απρίλιος
2011 Μάιος
2011 Ιούνιος
2011 Αύγουστος
2011 Σεπτέμβριος
2011 Οκτώβριος
2011 Νοέμβριος
2011 Δεκέμβριος
2012 Ιανουάριος
2012 Φεβρουάριος
2012 Μάρτιος
2012 Μάιος
2012 Σεπτέμβριος
2012 Οκτώβριος
2012 Νοέμβριος
2013 Ιανουάριος
2013 Απρίλιος
2013 Οκτώβριος
2014 Απρίλιος
Ιστότοποι φίλων
Create your own site
Ιστολόγιο
Main
»
2010
»
Μάιος
»
26
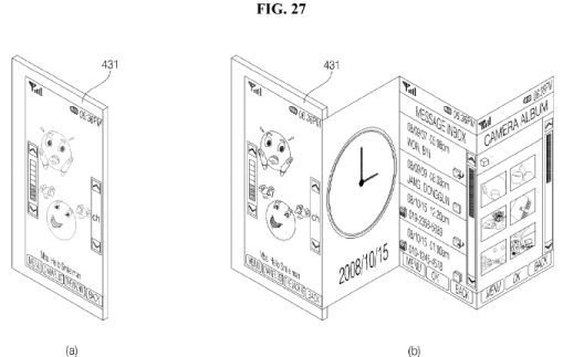
Αναδιπλούμενες οθόνες σε λίγο κοντά μας
Η LG κατέθεσε αίτηση πατέντας στις ΗΠΑ για αναδιπλούμενες οθόνης αφής. Η Sony απάντησε με μια τυλιγόμενη οθόνη που μπορείτε να θαυμάσετε
...
Διαβάστε τη συνέχεια »
Εμφανίσεις: 259 | Προσθήκη από:
slm
| Ημερομηνία:
2010-05-26
|
Σχόλια (0)